
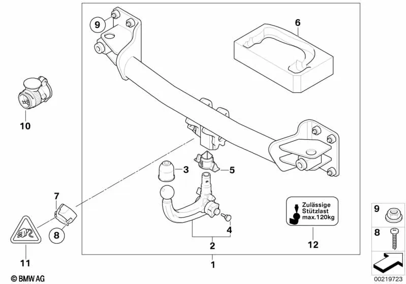
- Винт с плоской головкой 07119904582
- Вкладыш шаровой головки 71606772223
- Гайка шестигранная 71606795381
- Гнездо разъема 61131378999
- Заглушка 71606765338
- Ключ (с кодом) 71606775871
- Колпак защитный 71601133279
- Тягово-сцепное устройство съемное 71606798524
- Шаровая головка, съемная 71606769461
- Шильдик с указанием опорной нагрузки 71601096067
- ადაპტერიTEST2 61136942997
