ХОЛОДИЛЬНАЯ СИСТЕМА КОНДИЦИОНЕРА (LHD)
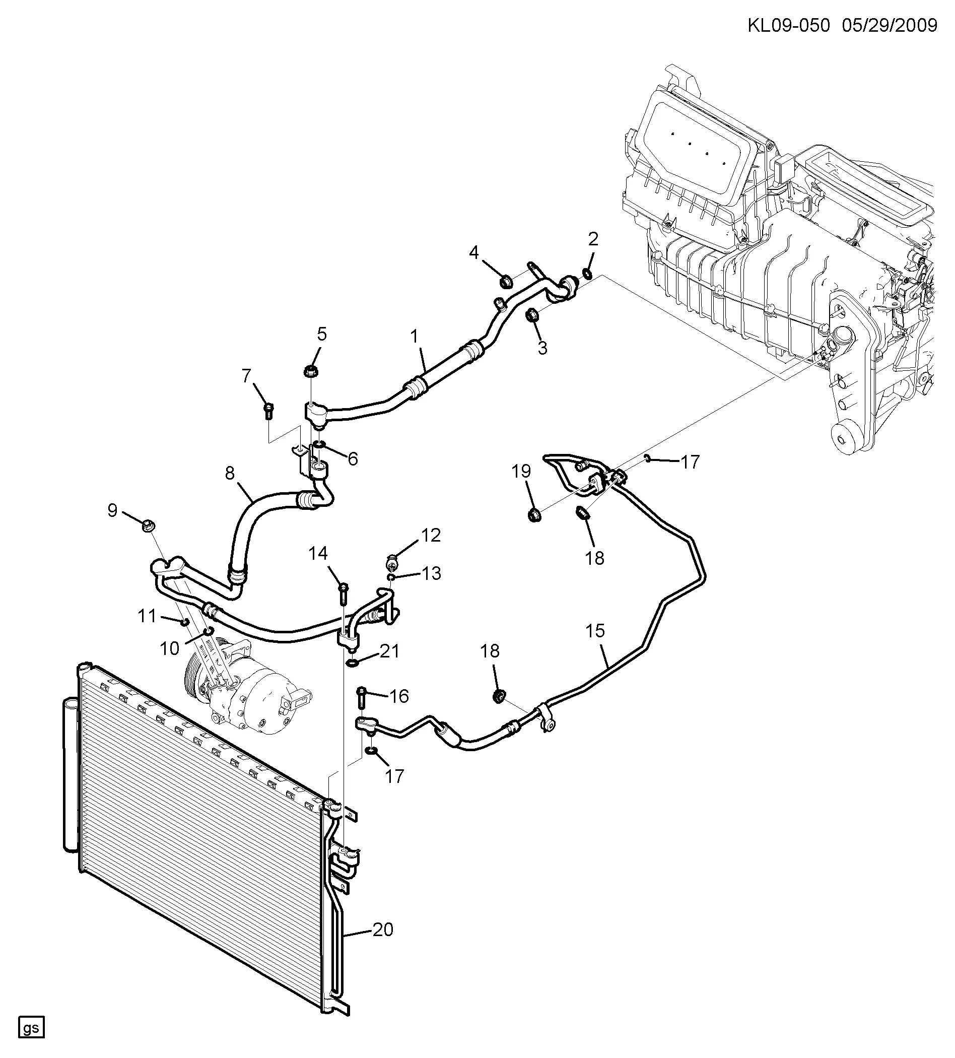
  • SEAL,A/C CMPR & CNDSR HOSE(PART OF 1)(BLACK)(19MM OD X 11MM ID)(SLIMLINE WASHER)(1/2 IN DIA)(SMOOTH-SIDED)(ACDelco #15-31055) 52474373
  • Болт 94500406
  • БОЛТ,КОМПР КОНДИЦИОНЕРА И ФИТ ШЛАНГА КНДНСР(9.180) 94500440
  • БОЛТ,КРОНШ НАСОС РУ/УСИЛ 94500296
  • ГАЙКА , [5340] 94515340
  • ГАЙКА W/REG TO INNER PANEL-DOOR 94515119
  • ГАЙКА,ФИКС ВПСК ШЛАНГА РРМ РУ/УСИЛ(M8X1,25MM)(4.730) 94515131
  • ДАТЧИК, ДАВЛ ХЛАДАГ КОНДИЦИОНЕРА 96448991
  • КОНДЕНСАТОР, А/С(ПОДРОБНУЮ ИЛЛЮСТРАЦИЮ СМ. В ГРУППЕ 09.000 "СИСТЕМА РЕГЕНЕРАЦИИ КОНДИЦИОНЕРА") 20759646
  • ТРУБКА,ИСПАР КОНДИЦИОНЕРА(ВКЛЮЧ.17) 96629662
  • УПЛОТНЕНИЕ,ШЛАНГ КОМПР КОНДИЦИОНЕРА(ДЕТАЛЬ ИЗ 8)(OD25M ID17M)(3/4))(РЕЗИНОМЕТАЛЛИЧЕСКАЯ ШАЙБА) 52474375
  • ШЛАНГ, ВСПОМОГАТЕЛЬНЫЙ ИСПАРИТЕЛЬ КОНДИЦИОНЕРА(ВКЛЮЧ.2) 20927334
  • ШЛАНГ, ВСПОМОГАТЕЛЬНЫЙ ИСПАРИТЕЛЬ КОНДИЦИОНЕРА(ВКЛЮЧ.2) 20927333
  • ШЛАНГ,КОМПР КОНДИЦИОНЕРА(В ТОМ ЧИСЛЕ 6,10,11,13,21) 20927345

კალათი



რაოდენობა : 0

ჯამი : 0.00 ₾