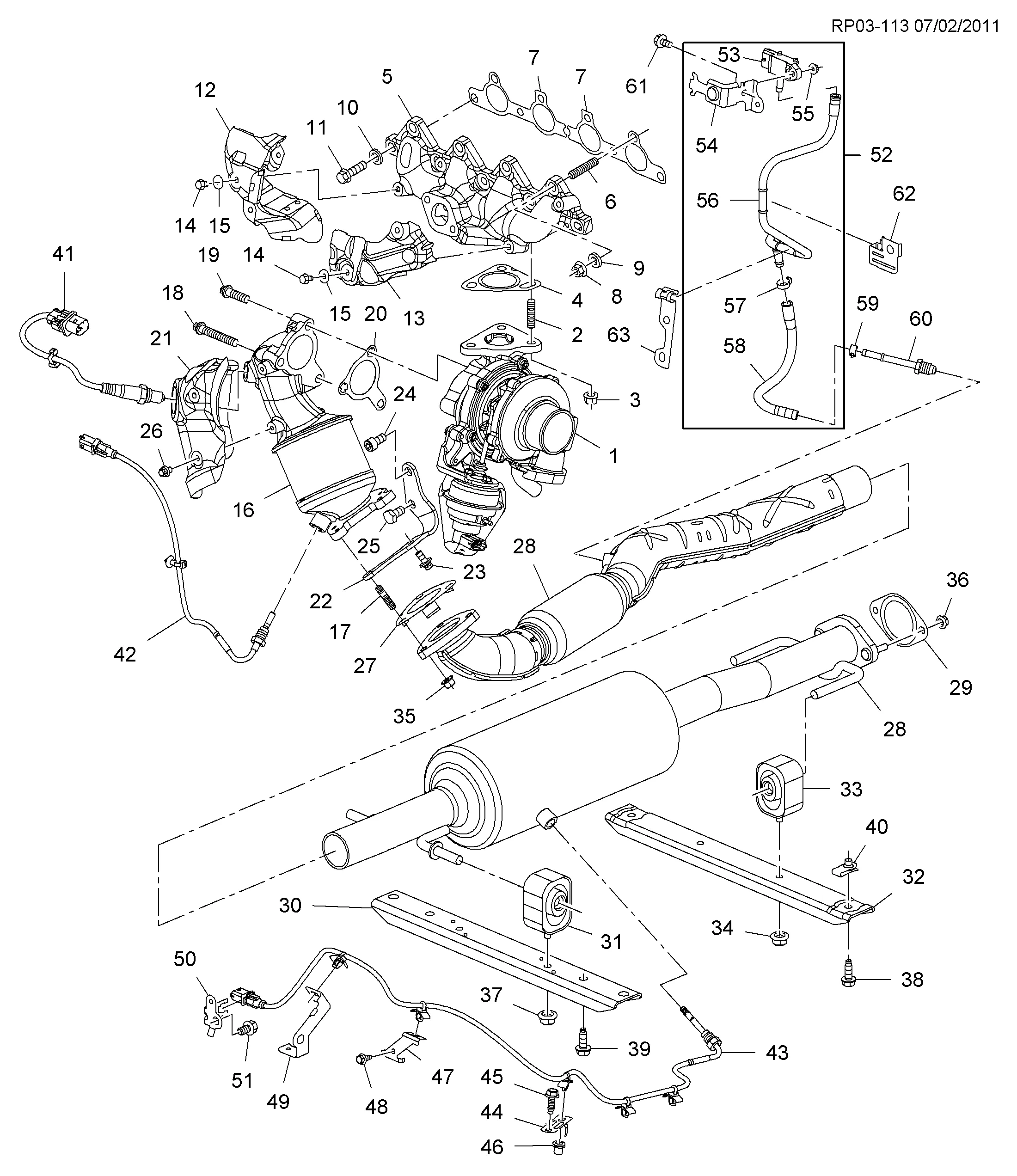
ВЫПУСКНАЯ СИСТЕМА ПЕРЕДНЯЯ ЧАСТЬ (LUD/1.7L)
  • БОЛТ, КАТАЛИТИЧ. ПРЕОБРАЗ, ТЕПЛОЗАЩ. ЭКРАН(M6X8 ММ)(3.602) 11097991
  • БОЛТ, КРОНШТЕЙН ДАТЧИКА ДАВЛЕНИЯ ВЫХЛОПНЫХ ГАЗОВ(M8X16)(6.672) 11097481
  • БОЛТ, НИЖН МАСЛ ПОДДОН(M6X1X13MM)(ДЛЯ КРУГЛОГО ОТВЕРСТИЯ)(8.900) 11516422
  • БОЛТ, СТЯЖКА КАТАЛИТИЧЕСКОГО НЕЙТРАЛИЗАТОРА(БОЛТЫ КРЕПЛЕНИЯ УГЛОВОЙ СКОБЫ КОНВЕРТЕРА К ДВИГАТЕЛЮ)(M8X16MM)(3.275) 11102102
  • БОЛТ,ВЫПСК КОЛЛЕКТ(M10X1,5X35ММ) 55575488
  • БОЛТ,ВЫПСК ТРУБА ТУРБО/Н(M10X35MM) 11103412
  • БОЛТ,ВЫПСК ТРУБА ТУРБО/Н(M10X63 ММ) 11103462
  • БОЛТ,ЗАДН КРШК РЕМНЯ ГРМ(M6X1X16MM)(ДИАМЕТР ШАЙБЫ 14.20 ММ)(3.602) 11588711
  • БОЛТ,КРОНШ СТЯЖ КАТАЛИТ НЕЙТРАЛ 55574755
  • БОЛТ,КРОНШ ЭЛЕКТРПРОВ ДВИГ(M10X1,5X20,65 MM)(1.516) 11588736
  • БОЛТ,КРОНШТЕЙН-КРЮК ВЫПУСКНОГО ГЛУШИТЕЛЯ(7.242) 52079061
  • БОЛТ,ШКВ ВОД/НАС(M6X1X12.3 ММ)(8.900) 11519840
  • ГАЙКА, ВЫПУСК ТУРБОНАГН.,ВПУСКН. ТРУБА 55575492
  • ГАЙКА, КАТАЛИТИЧ. ПРЕОБРАЗ(M8X1,25MM)(БЕЗ ОМЫВАТЕЛЯ) 11612078
  • ГАЙКА, КАТАЛИТИЧ. ПРЕОБРАЗ(M8X1,25MM)(С МЕДНЫМ ПОКРЫТИЕМ) 11102751
  • ГАЙКА, СОЕД. БЛОК, АККУМ., ПОЛОЖ. КАБЕЛЯ(ДЕТАЛЬ ИЗ 3)(M8X1.25X9.4 ММ)(0.648) 11516076
  • ГАЙКА, УКАЗАТЕЛЬ УРОВНЯ МОТОРНОГО МАСЛА(M6X1MM)(1.428) 11514516
  • ГАЙКА,ВЫПСК КОЛЛЕКТ 55579100
  • ГАЙКА,ДАТЧИК ТЕМПЕРАТУРЫ ВЫХЛОПНЫХ ГАЗОВ, КРОНШТЕЙН ЗАЖИМА ПРОВОДОВ(3.130) 90575310
  • ГАЙКА,КРОНШТЕЙН ФИЛЬТРА ОТРАБОТАВШИХ ГАЗОВ PRTLT(M8X1,25MM)(7.039) 11516647
  • ДАТЧИК, ДАВЛЕНИЕ ВЫХЛОПНЫХ ГАЗОВ(ЧАСТЬ ИЗ 52) 55566186
  • ДАТЧИК, НАГРЕТЫЙ КИСЛРД 55583271
  • ДАТЧИК, НАГРЕТЫЙ КИСЛРД 55573637
  • ДАТЧИК, ТЕМП НА ВЫХОДЕ (ПОЛОЖЕНИЕ 1) 55574183
  • ДАТЧИК, ТЕМП НА ВЫХОДЕ (ПОЛОЖЕНИЕ 2) 55578799
  • ЗАЩИТА, ТЕПЛ КАТАЛИТ ПРЕОБР 55567713
  • ЗАЩИТА, ТЕПЛ, ВЫПУСК КОЛЛЕКТОР 55579898
  • ЗАЩИТА, ТЕПЛ, ВЫПУСК КОЛЛЕКТОР 98088842
  • ИЗОЛЯТОР, НАРУЖН. ФИЛЬТР ЧАСТИЦ, КРЮК(3.616) 13229780
  • КОЛЛЕКТОР, НАРУЖН. 98053880
  • КОНВЕРТЕР, ПРОГР. ОКИСЛИТ. КАТАЛИТИЧ.(ВКЛЮЧ.17) 55583388
  • КРОНШТЕЙН, ДАТЧИК ДАВЛЕНИЯ ВЫХЛОПНЫХ ГАЗОВ(ЧАСТЬ ИЗ 52) 55571996
  • КРОНШТЕЙН, ТРУБА ДАТЧИКА ДАВЛЕНИЯ ВЫХЛОПНЫХ ГАЗОВ 55571193
  • КРОНШТЕЙН, ТРУБА ДАТЧИКА ДАВЛЕНИЯ ВЫХЛОПНЫХ ГАЗОВ 55562154
  • КРОНШТЕЙН,ПЕРЕДН КРЮК ВЫПСК ТРУБ 95268980
  • КРОНШТЕЙН,РАЗЪЕМ ДАТЧ ТЕМП ВЫХЛ ГАЗОВ(К НИЖНЕМУ БЛОКУ) 55571192
  • КРОНШТЕЙН,САЖЕВ ФЛТР 13256508
  • ПРОКЛАДКА, ВЫПУСК ТУРБОНАГН.,ВПУСКН. ТРУБА 98053852
  • ПРОКЛАДКА, ВЫПУСКН. КОЛЛЕКТОР 97385827
  • ПРОКЛАДКА, ГЛУШИТЕЛЬ ВЫХЛОП. 13277713
  • ПРОКЛАДКА, ПЕРЕДН. ВЫХЛОПН. ТРУБА 13293986
  • ПРОКЛАДКА, ТУРБОНАДДУВ, ЭЛ. ВЫПУСК 55565538
  • СОЕДИНИТЕЛЬ, ШЛАНГ НАРУЖНОГО ДАТЧИКА ДАВЛЕНИЯ 55566087
  • СТЯЖКА,КАТАЛИТ НЕЙТРАЛИЗ 55560417
  • ТРУБА, ДАТЧИК ДАВЛЕНИЯ ВЫХЛОПНЫХ ГАЗОВ(В ТОМ ЧИСЛЕ 53-58) 55572684
  • ТРУБА, ДАТЧИК ДАВЛЕНИЯ ВЫХЛОПНЫХ ГАЗОВ(ЧАСТЬ ИЗ 52) 55572685
  • ТУРБОНАГНЕТАТЕЛЬ, ДВИГ 55567731
  • ФИЛЬТР НАРУЖН. ЧАСТИЦ(С ТРУБ. НАРУЖН. ФИЛЬТРА)(В ТОМ ЧИСЛЕ 29-34) 13348192
  • ХОМУТ, ШЛАНГ НАРУЖНОГО ДАТЧИКА ДАВЛЕНИЯ(ЧАСТЬ ИЗ 52)(ФОРМА ЗАЖИМА)(3.162) 95223384
  • ХОМУТ,ШЛАНГ ДАТЧИКА ВЫХЛОПНОГО ДАВЛЕНИЯ (НА ВЫХЛОПНОЙ ТРУБЕ)(12MM)(ЗАКРЫТОГО ТИПА) 55564198
  • ШАЙБА, ВЫПУСКНОЙ КОЛЛЕКТОР(ИСПОЛЬЗОВАТЬ С БОЛТОМ) 94047868
  • ШАЙБА, ВЫПУСКНОЙ КОЛЛЕКТОР(ИСПОЛЬЗОВАТЬ С ГАЙКОЙ) 98004170
  • ШАЙБА,ТПЛЗАЩ/ЭКР ВЫПСК КОЛЛЕКТ 98137735
  • ШЛАНГ,ДАТЧИК ВЫХЛОПНОГО ДАВЛЕНИЯ (НА ВЫХЛОПНОЙ ТРУБЕ)(ЧАСТЬ ИЗ 52) 55569265
  • ШПИЛЬКА, ВЫПУСК ТУРБОНАГН.,ВПУСКН. ТРУБА 55578382
  • ШПИЛЬКА, ФЛАНЕЦ ВЫПУСКНОЙ ТРУБЫ КАТАЛИТИЧЕСКОГО НЕЙТРАЛИЗАТОРА(ДЕТАЛЬ ИЗ 16)(M8X35MM)(8.981) 11098631
  • ШПИЛЬКА,ВЫПСК КОЛЛЕКТ 55578974

კალათი



რაოდენობა : 0

ჯამი : 0.00 ₾