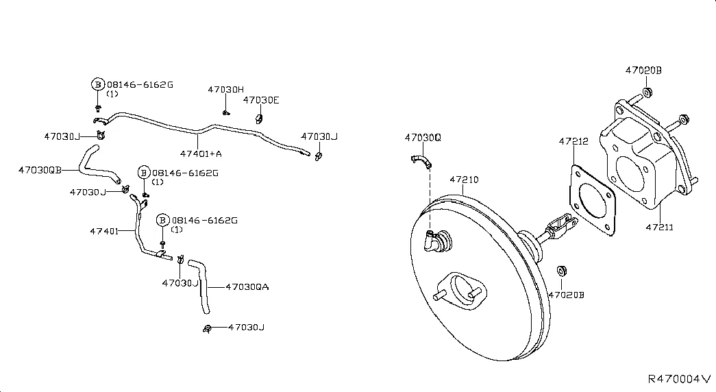
Тормозной усилитель и сервопривод
  • 081466162G
  • Гайка 01225N8011
  • Зажим 1643917B0A
  • Изолятор трубки 474853ZP0A
  • Клипса 46271AA010
  • Прокладка тормозного усилителя 472129HA0A
  • Прокладка усилителя тормозов 47211AX701
  • Трубка от усилителя к бачку 47401BV90A
  • Трубка от усилителя к бачку 47401BV80A
  • Усилитель тормозов (в сборе) 472103SG0A
  • Шланг тормозного усилителя 47472BV80A
  • Шланг тормозного усилителя 47474BV80A
  • Шланг тормозного усилителя 47471BV90A

კალათი



რაოდენობა : 0

ჯამი : 0.00 ₾