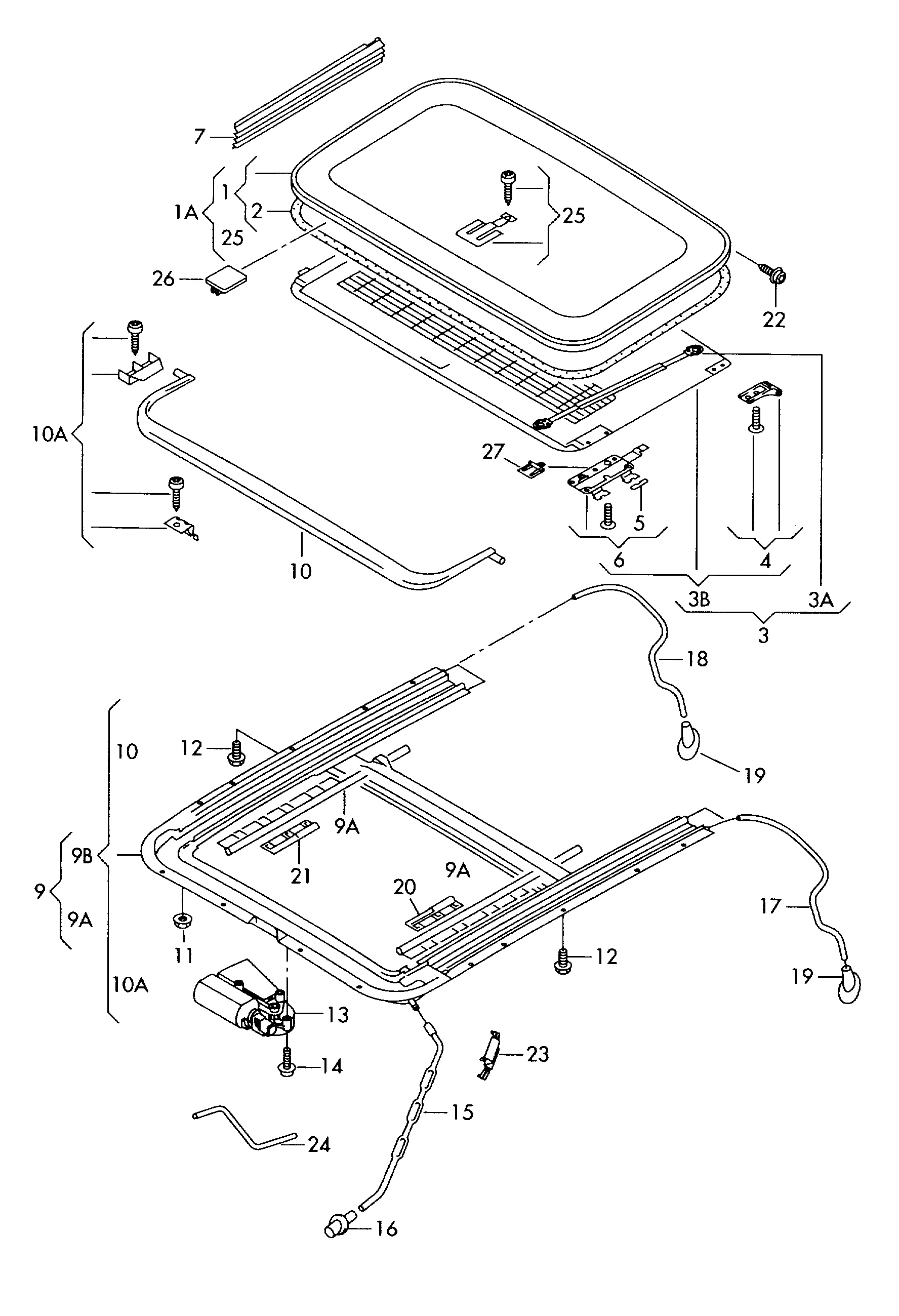
Стекл. подъёмно-сдвижной люк
  • 1 к-т направляющих пружин 4F0898173C
  • 1 к-т элементов крепления 4F0898644
  • 1 комплект пружин 4F0898255
  • Винт с полукр.гол. и внут.TORX 8D9877721
  • Винт с шестигр.гол.(с шайбой) N10312603
  • Винт со скруг.цил.гол., внутр. Torx, самостопорящийся 8D0877721C
  • Гайка шестигранная, самостопорящаяся с шайбой N90436904
  • Держатель шланга 8E0971848R
  • Дренажный шланг 4F5877234
  • Дренажный шланг 4F5877233
  • Дренажный шланг 4F0877201A
  • Крышка люка 4F0877071C
  • Набор мелких деталей 4F0898701
  • Накладка чёрный satinschwarz 4F087778101C
  • Накладка чёрный satinschwarz 4F087778201C
  • Наконечник водостока 8D9877242A
  • Наконечник водостока 8E0877242
  • Несущий элемент 4F0877169
  • Несущий элемент 4F0877170
  • Обтекатель 4F0877651
  • Пластичная смазка G055751A2
  • Ползун 4F0877165
  • Ползун 4E0877275B
  • Ползун 4E0877276B
  • Пружина 8D9877695
  • Рама проёма сдвижного люка с обивкой серебристый 4F0877255B1NC
  • Рама с приводом подъёмно-сдвижного люка 4F5877049
  • Уплотнитель 8E0877297
  • Упор 4F0877665
  • Упор 4F0877343
  • Фиксатор 4F0877718A
  • Фиксатор 4F0877717A
  • Шестигранный валик тросового привода 4B0875699
  • Электродв. привода сдвиж. люка 4B0959591K

Корзина



Количество товаров : 0

Сумма : 0.00 ₾