
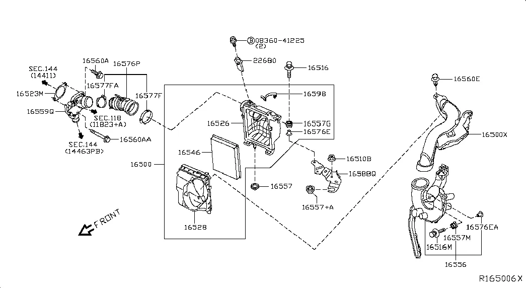
- 0836041225
- Болт 01125E8041
- Болт трубки СРОГ 01125E8111
- Воздуховод 165763YM0C
- Воздуховод 165543DD0A
- Воздуховод 165543ZM0B
- Впускной воздушный патрубок 14460BV81B
- Гайка 01221N6011
- Датчик массового расхода воздуха 226805RB0A
- Зажим шланга 164393YM0D
- Зажим шланга 164393YM0E
- Клипса 1659886G0A
- Корпус воздушного фильтра 165283RC2A
- Кронштейн воздушного фильтра 165881KT0A
- Крышка корпуса воздушного фильтра 165263RC2A
- Резиновая подушка воздушного фильтра 165576N20A
- Резиновая подушка воздушного фильтра 16557AL50A
- Резиновый амортизатор коллектора 1655931U00
- Уплотнительная прокладка 144654P210
- Фиксатор 1656660U0A
- Фиксатор 16566JG30A
- Фильтр воздушный 1654630P00
- Фильтр воздушный 165003RC2A
- Центральный болт 165165M30A
